BQ79616 16节串联电池监测器TI

发布时间:2024-09-05 09:33:52     浏览:1937

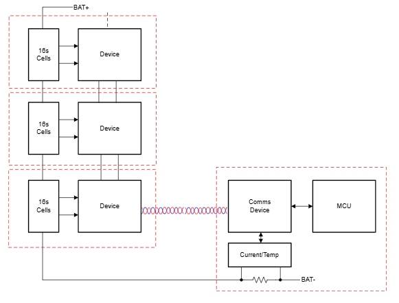
  BQ79616 是TI推出的一款16节串联电池监测器,专为高压电池管理系统设计,适用于混合动力和电动汽车(HEV/EV)的动力总成系统。该器件集成了高精度的电池电压测量、电池均衡和硬件保护功能,能够提供精确的电池状态监控和管理。

  该器件的密封设计支持多种通信选项,便于用户计算电池状态(SOC),并包括温度差分自动调整和恢复能力,以避免潜在的异常条件。

BQ79616 16节串联电池监测器TI

  特性

  1. 高精度:BQ79616 提供 ±1.5 mV 的 ADC 精度,确保电池电压测量的准确性。

  2. 快速测量:能够在 128 ?s 内完成所有电池通道的高精度电压测量。

  3. 先进技术:集成后 ADC 可配置数字低通滤波器和红外通信功能,增强了数据处理的灵活性和通信能力。

  4. 电池均衡:支持内部或外部电池均衡,最大可处理 240mA 的均衡电流,并具备自动停靠和恢复控制功能。

  5. 隔离系统通信:采用环形架构,通过通信中继器实现信息的有效传输。

  6. 主机控制和通讯:支持 UART/SPI 主机接口,可与 TI 的 BQ79600 通信桥接器配合使用,内置 SPI 控制器。

  应用

  BQ79616 主要应用于电池管理系统(BMS),特别是在混合动力和电动动力总成系统中,以及带有电池管理系统的储能电池组。

  封装信息

  - 型号:BQ79616

  - 封装:HTQFP(64 引脚)

  - 尺寸:10.00mm x 10.00mm

推荐资讯

  • 全球领先的高压电源模块AC/DC,DC/DC转换器制造商
    全球领先的高压电源模块AC/DC,DC/DC转换器制造商 2025-09-01 09:27:47

    高压转换器将高电压转换为所需形式(AC/DC或DC/DC),用于工业设备供电。全球主要供应商包括:Spellman(62V-500kV)、SynQor(9V-425V)、Crane(270V-800V)、Pico(100V-10kV)、XP Power(500V-500kV)等,覆盖从电子设备到工业系统的各种应用场景,具有宽电压范围(9V-500kV)和高功率(1W-200kW+)的特点。

  • PT12-20 POL非隔离式DC-DC电源模块DATEL
    PT12-20 POL非隔离式DC-DC电源模块DATEL 2024-08-13 09:13:02

    DATEL的PT12-20 POL非隔离DC-DC模块,输入6至14V,输出0.75至5V,20A电流,效率高达90%,具备短路和过热保护,工作温度-40°C至+85°C,适用于高功率密度和可靠性的POL应用。

在线留言

在线留言